Samsung Spotted Working on AR Headset With Head-Mounted Display in Patent Document

Samsung has previously confirmed that it is working on an augmented reality (AR) headset, and a recently published patent document sheds some light on what the company’s first AR headset might offer. The company’s patent hints at a head-mounted device that runs on its own operating system. It is also expected to feature a Qualcomm chip, thanks to the partnership between both firms on the project. A mixed reality headset from Samsung would compete with devices from companies like Meta, HTC, and Magic Leap, while offering similar functionality.

Samsung AR Reality Headset Design Spotted in Patent Document

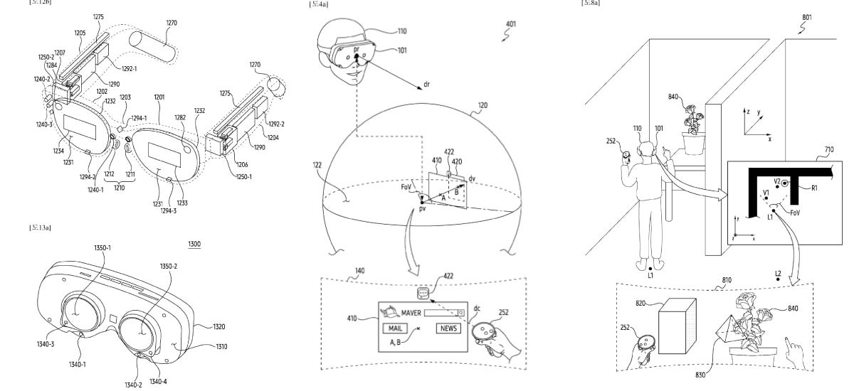
Spotted by 91Mobiles on the World Intellectual Property Organisation (WIPO) database, Samsung’s patent is titled “Wearable Device for Displaying Visual Object for Adjusting Visibility of Virtual Object, and Method Thereof”. It appears to be a head-mounted device (HMD) that features a built-in display and relies on AR technology.

Samsung’s AR headset patent drawings hint at several features
Photo Credit: WIPO/ Samsung

 

According to the patent document, Samsung’s device is equipped with a processor that can take reference points inside a virtual space, and it use them to create a field-of-view (FoV). This can be used to enable various features on the headset, while viewing objects in a virtual environment. However, there’s no mention of the display technology used on the device.

Once the FoV has been created by the mixed reality headset, it can display multiple virtual objects within it. As per the patent, the headset’s processor is capable of handling the visibility of a virtual objects and how it is shown alongside other virtual objects inside the virtual space.

The document also suggests that the position of virtual objects in the virtual space created by the headset can be adjusted by the wearer. The headset is also shown to work with other devices that provide input, including a handheld controller. 

Other drawings of the purported headset suggest that it will be equipped with a range of sensors that would enable augmented reality features on the headset. It is expected to offer support for wireless connectivity, but it’s unclear whether it need to be connected to an external battery pack, like the Apple Vision Pro.

Just like every other patent that is published, there’s no guarantee that Samsung will launch a mixed reality headset with the design shown in the patent document. We can expect to see more details of the mixed reality headset that is being developed in partnership with Qualcomm in the future.

About the Author

You may also like these