
Samsung could be working on a wireless charging case for a pair of augmented reality (AR) glasses, according to a recently published patent application. While there’s not a lot of information about the AR headset, the patent application sheds some light on how the wireless charging case would function. If the company launches a device described in the patent, users will need to place their AR glasses inside a rectangular case in order to charge the headset when the battery runs low.
A patent application filed by Samsung earlier this year was recently published on the World Intellectual Property Organization (WIPO) website (via 91Mobiles). Titled ‘Wireless Power Transmitting Device’, the description for the invention states that it is related to a charging device for AR glasses.
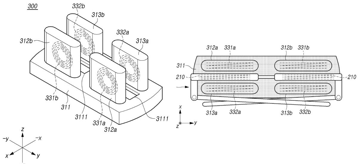
In the various diagrams included in the patent document, Samsung describes the use magnetic coils to transmit power to a receiving device which also has a magnetic coil for wireless charging. These coils are shown to be in alignment with the lenses of the AR glasses in Fig 9a, in a horizontal orientation
In Fig 2, the charging case is shown to sport a rectangular box-like design, with a hinge that flips open revealing the storage area for the AR glasses. Figures 3a and 3b shows the wearable inside the case while folded, with the arms at the bottom.
Fig. 9a (left) and Fig. 8
Photo Credit: WIPO/ Samsung
Meanwhile, figures 12a and 12b show the AR glasses placed inside the charging case with the frame positioned vertically. The side coils (depicted clearly in Fig 8) are perpendicular to the bottom of the charging case and placed on either side of the AR glasses’ lenses.
While the patent application isn’t a clear indication of whether Samsung plans to introduce a pair of AR glasses with support for wireless charging, the adoption of wireless charging could make such a device much easier to by eliminating the need to remember to charge their AR headset. The glasses would also have a full charge when they are taken out of the charging case, just like truly wireless stereo (TWS) headsets today.