
Samsung has filed a patent application for new display technology that could enable the company to introduce flagship smartphone models, equipped with a curved display. The technology described by the company in the application filed with the US Patent and Trademark Office (USPTO), suggests that the company has found a way to improve the durability of these screens. The document also describes a system that could reduce the number of screens that are damaged when the smartphones are assembled.
Samsung Could Use Reinforced Structure for Smartphone With Curved Display
In a patent application filed in June that was recently published on the USPTO website (via MSPoweruser), Samsung describes technology to produce a curved display for a smartphone. The handset in the drawings used in the patent appears to resemble the Galaxy S23 Ultra and its predecessor, down to the S Pen (Fig. 2), which is also seen in a housing located on the bottom edge.
Samsung’s patent document contains drawings with an S Pen
Photo Credit: USPTO/ Samsung
This year, Samsung launched the Galaxy S24 Ultra with a flat display along with an anti-reflective coating. However, the company’s new patent application hints that it could eventually return to producing flagship smartphones with curved screens.
The patent application looks to tackle an important issue with curved displays — durability. According to the company, using two sealing layers as well as a separate “blocking” section can prevent the sealant that is used to hold the screen in place from spilling.
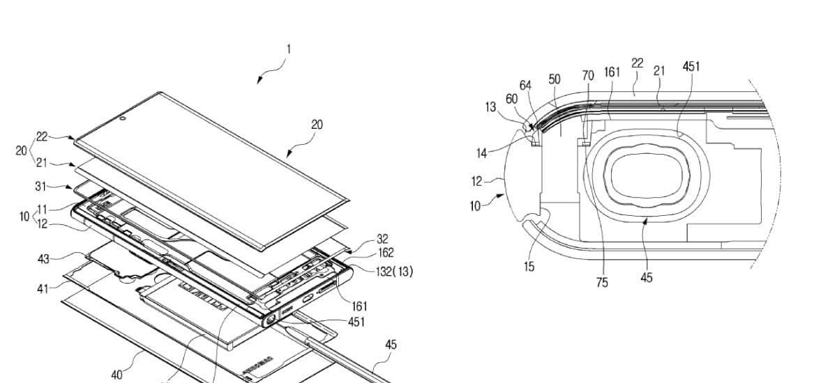
The first sealing layer described in the patent application is located between the screen and the housing, while the second sealing layer is found between the housing and the outer shell. Samsung also describes the use of a “connection hole” between these two sealing areas, and near the buffer area.
Samsung’s patent document shows the edges its curved display
Photo Credit: USPTO/ Samsung
The connection hole would be filled with a material that would connect the two sealing layers, while the blocking section that is found between the buffer area and the connection hole would prevent the filling material from spilling over. This could lower the number of screens affected by leakage during the process of assembling the company’s smartphones.
According to recent leaks, it seems unlikely that the company’s Galaxy S25 series of smartphones will be equipped with curved displays. In fact, it is not possible to predict whether Samsung will use the technology described in the patent application in an upcoming flagship smartphone. However, it suggests that the company is working to overcome challenges associated with developing smartphones with curved displays.