
Apple has been granted a patent for security camera technology that is designed to help identify people based on their face and physical characteristics. Published by the US Patent and Trademark Office (USPTO), the patent document describes a security camera system that can rely on facial recognition as well as a “bodyprint” to correctly identify a person, using images of their torso or the clothes they are wearing. Recent reports claim that Apple is looking to expand into the smart home sector, starting with a wall-mounted tablet.
Apple Smart Camera Could Identify Physical Characteristics in Addition to Facial Recognition
According to the patent document, Apple’s security camera technology can store facial recognition information about a person — functionality that is also offered on some other similar devices available today. However, the company also describes the use of a feature that will store information about a person’s physical characteristics.
Apple’s security camera system could offer notifications
Photo Credit: USPTO/ Apple
The Cupertino company says the purported security camera would be able to generate a “bodyprint” of a person, which would work in tandem with the facial recognition (or Face ID) feature. As a result, a person’s face would be associated with their bodily characteristics.
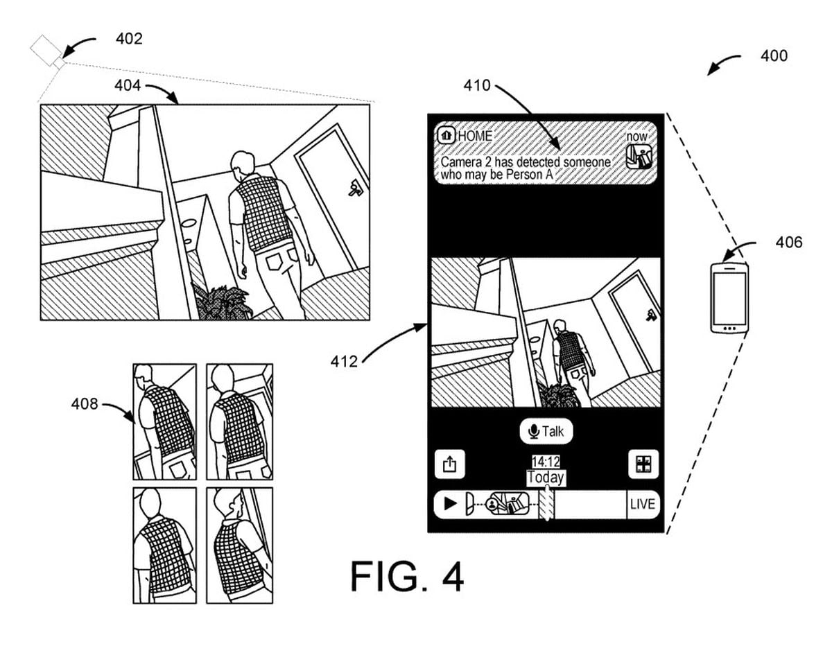
The patent reveals that an individual can be recognised by the system, even if the camera cannot see their face. Instead of relying on facial recognition, Apple’s security camera technology would identify a person using other “bodyprint” details such as their torso or clothing.
In order to learn the physical characteristics of various people coming to a user’s residence, the security camera system would need to capture and store images (temporarily) on a regular basis. These will be analysed using deep learning models, according to the patent document.

Apple’s patent describes the use of “bodyprint” recognition
Photo Credit: USPTO/ Apple
After the system has identified a potential match, it will provide the user who is indoors with a notification, as per the details in the patent. Users will be able to access these details, and view a live feed of the security camera using an iPhone, iPad, or Apple TV.
The arrival of this patent comes shortly after Bloomberg’s Mark Gurman claimed that Apple is considering the development of a privacy focussed home camera as well as several other smart home devices. The first of these devices is expected to be a smart home hub that can control other devices in a user’s home, while offering support for Apple’s apps like FaceTime.
