
Apple’s purported smart glasses could be several years away, but the company appears to be working on hardware that could feature on its next-gen wearables. According to a patent application published by the US Patent and Trademark Office (USPTO), Apple has designed a hinge mechanism that could be a part of the company’s rumoured augmented reality (AR) glasses. Earlier this year, Apple launched the Vision Pro in the US as its first wearable spatial computer, and future models are expected to resemble regular spectacles.
Apple Patent Application for Dual-Axis Hinge Mechanism
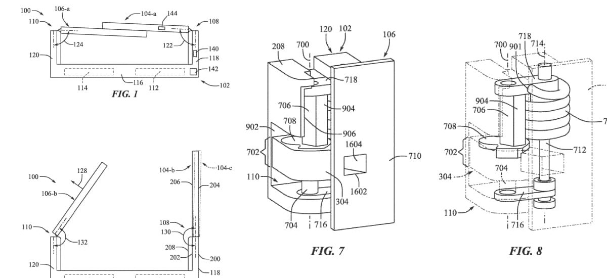
In the patent application that was published by the US Patent Office last week, Apple explains the use of a dual-axis hinge on a pair of glasses. The document describes the ability of the hinge to be used to open the arm in three states — open (nominal), folded, and hyperextended.
Figures depicting the dual-axis hinge on smart glasses
Photo Credit: US Patent Office/ Apple
Apple says that a hinge with “multiple axes of rotation of different parts” would allow the AR glasses’ arm to move between different stable positions. The hinge design would also allow the smart glasses to “apply a clamping force to a wide array of heads”.
Another benefit of using the dual-axis hinge mechanism is the ability to equip the hinge with a cable that would connect components in the arm and the frame of the smart glasses. The redesigned hinge will also let the components remain safe, according to the company’s patent document.
Apple ‘Eyewear’ References in Patent Application
The patent document contains multiple references to ‘eyewear’, which suggests that the company is developing the technology to eventually launch its own pair of smart glasses. Previous reports have attempted to predict the change from a mixed reality headset (the Apple Vision Pro) to something more streamlined.
Last month, it was reported that the iPhone maker plans to launch a foldable iPhone and AR glasses in 2026 and 2027, respectively. Apple isn’t the only company reportedly working on smart glasses. Asus, Meta, Samsung, and Lenovo are some of the firm’s rivals that are also working on similar technology.