Apple to Continue Releasing iOS 17 Security Updates After iOS 18 Rolls Out: Report
Apple announced that the stable version of iOS 18 will be rolled out to eligible

MG Windsor EV With 331km Range, 80 Connected Car Features Launched in India: All You Need to Know
MG Windsor electric vehicle (EV) was launched in India on Wednesday. The British automotive company
HMD 105 4G, HMD 110 4G With YouTube and UPI Support Launched in India: Price, Specifications
HMD 105 4G and HMD 110 4G were launched in India on Wednesday as the
Google Chrome Is Getting Three New AI-Powered Features to Make Accessing Tabs Easier
Google Chrome has been updated with three new artificial intelligence (AI) features that are designed
Sonos Ace Headphones With Up to 30-Hour Battery Life Launched in India
Sonos Ace headphones were launched in India on Wednesday. The over-the-ear Bluetooth headphones are equipped
Bumble Plans to Introduce New AI-Powered Features Including Photo Picker: Report
Bumble, the popular dating app owned by Match, could soon be updated with new artificial intelligence
Honor 200 Series Gets Flagship AI-Powered Features in India With Latest MR2 Update
Honor 200 series has received a new update in India. It brings flagship features powered
Indodax Crypto Exchange Suspends Services After Alleged $22 Million Hack
Days after the FBI warned crypto investors about a rise in crypto-related attacks, an Indonesian
NXP Semiconductors to Invest Over $1 Billion in India Pushing R&D Efforts
NXP Semiconductors will invest over $1 billion (roughly Rs. 8,398 crore) in India, doubling its
Vivo T3 Ultra Price Range, Key Specifications Revealed Ahead of September 12 Launch in India
Vivo T3 Ultra is set to be launched in India on September 12 and will

Google Rolls Out App Access Risk Feature to Keep Users Safe From Dangerous Apps: Report
Google now offers developers access to a new feature that could help them protect user
Standard Chartered Bank Announces Digital Custody Service for Bitcoin, Ether in UAE
As the crypto sector undergoes regulatory shifts worldwide, banks are increasingly exploring opportunities to offer
Microsoft-Backed G42 Introduces Nanda, a Hindi Large Language Model for India
Microsoft-backed G42, an Abu Dhabi-based artificial intelligence (AI) technology company, unveiled a Hindi large language
Tecno Pova 6 Neo 5G With MediaTek Dimensity 6300 SoC, 108-Megapixel Camera Launched in India
Tecno Pova 6 Neo 5G was launched in India on Wednesday as the latest affordable
Apple Loses Court Battle in EU, Ordered to Pay Over $14 Billion in Back Taxes to Ireland
Apple lost a long-running court battle with the European Union on Tuesday, resulting in the

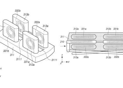
Samsung Patent Application Hints at Wireless Charging Case for AR Glasses
Samsung could be working on a wireless charging case for a pair of augmented reality
Samsung Galaxy Tab S10 Series Images, Specifications Leaked Ahead of Launch
Samsung Galaxy Tab S10 Series is expected to launch in October. Ahead of its anticipated
OnePlus 13 Allegedly Spotted on Geekbench With Unannounced Snapdragon 8 Gen 4 SoC
OnePlus 13 has been in the news for some time and a top OnePlus executive

PS5 Pro Revealed With Upgraded GPU, More Storage, but No Disc Drive; Launch Set for November
The PlayStation 5 Pro is here. Sony took the covers off the PS5 Pro Tuesday,
OpenAI ‘Strawberry’ AI Model to Reportedly Be Released by the End of the Month
OpenAI Strawberry, a rumoured new artificial intelligence (AI) model with enhanced reasoning and mathematical problem-solving