
Canva Revamps Platform and Editing Experience; New Affinity Apps, Canva Enterprise Launched
Canva, the popular online design platform, announced several new features and a new business-focused subscription

Microsoft Surface Laptop 7 With Snapdragon X Elite Chip Beats M3-Powered MacBook Air in Some Benchmarks
Microsoft Surface Laptop 7 was unveiled by the company earlier this week, alongside the Surface
Crypto Storage Provider Liminal Custody Registers Indian Entity with Financial Intelligence Unit
Liminal Custody, that offers storage and wallet services for virtual assets, announced that its Indian
CoinSwitch Report Says Its Reserves Exceed Customer Holdings, Can Cover All User Redemptions
India’s CoinSwitch crypto exchange published the third edition of its Proof of Reserve (PoR) on
Poco F6 Pro With Snapdragon 8 Gen 2 SoC, 120W Fast Charging Launched: Price, Specifications
Poco F6 Pro was launched in select global markets on Thursday (May 26) alongside the

Oppo Reno 12, Reno 12 Pro With 50-Megapixel Front Cameras, 80W Fast Charging Launched: Price, Specifications
Oppo Reno 12 and Reno 12 Pro were launched in China on Thursday, May 23.

CloudSEK Report Highlights the Surge of the Fake Pegasus Spyware Following Apple’s Threat Notifications
CloudSEK, a cybersecurity firm, led an investigation after Apple’s threat notifications were sent out to
Sam Altman’s OpenAI Signs Content Agreement With News Corp
Sam Altman-led OpenAI has signed a deal that will give it access to content from
Poco F6 5G With Snapdragon 8s Gen 3 SoC, 90W Charging Support Launched in India: Price, Specifications
Poco F6 5G was launched in India on Thursday (May 23). The latest Poco F
Google Photos to Reportedly Get New Feature That Turns Videos Into Cinematic Clips
Google Photos for Android may soon introduce a new feature that will enable users to
‘Huge Win for Web3’: Indian Crypto Industry Reacts as US House’ Approves FIT21 Bill
The US House of Representatives, this week, greenlit a new bill that aims to regulate
Amazon to Introduce Improved AI-Powered Alexa, But It Might Be Behind a Paywall: Report
Amazon is reportedly working on integrating artificial intelligence (AI) capabilities within its cloud-based voice assistant,

OnePlus 12R With Snapdragon 8 Gen 2 SoC Gets a Discount on Flipkart
OnePlus 12R was unveiled in India in January with a starting price tag of Rs.

Redmi A3x Said to Launch in India, Global Markets Soon; Design, Key Features Leaked
Redmi A3x is said to launch soon in both Indian and global markets. Earlier this

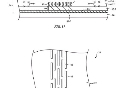
Apple Wins Patent for Foldable Device Display With ‘Self-Healing’ Layer: How It Works
Apple has been granted a patent for a new display technology that uses a self-healing
Sony Working on New PlayStation Platform for Free-to-Play Mobile Games, Job Listing Reveals
Sony seems to be working on a new platform for free-to-play mobile games, according to
Vivo X Fold 3 Pro India Launch Date Set for June 6: Expected Price, Specifications
Vivo X Fold 3 Pro India launch date has been set, the Chinese company revealed

Honor to Bring Google Cloud-Powered Generative AI Features to Its Devices, Shares AI Strategy
Honor became the latest smartphone brand to enter the artificial intelligence (AI) race after it
Google Meet’s New Adaptive Audio Feature Syncs Mics on Multiple Laptops to Avoid Echo
Google introduced a new feature for its video conferencing platform, Google Meet, on Wednesday (May
Vivo S19 Series, Vivo Watch GT Launch Confirmed for May 30; Colourways, Camera Details Teased
Vivo S18 series arrived in China last year, with the standard and Pro models boasting